HOME > 제품소개 > 엔드밀


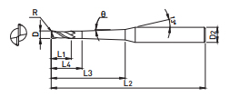
| EDP. No. | D | R | θ | L1 | L2 | L3 | L4 | D2 |
|---|---|---|---|---|---|---|---|---|
| WR544 010 01 01 06 | 1.0 | 0.10 | 1˚ | 1.5 | 2.5 | 6.0 | 50 | 4 |
| WR544 010 01 01 08 | 1.0 | 0.10 | 1˚ | 1.5 | 2.5 | 8.0 | 50 | 4 |
| WR544 010 01 01 10 | 1.0 | 0.10 | 1˚ | 1.5 | 2.5 | 10.0 | 50 | 4 |
| WR544 010 01 01 12 | 1.0 | 0.10 | 1˚ | 1.5 | 2.5 | 12.0 | 50 | 4 |
| WR544 010 01 01 16 | 1.0 | 0.10 | 1˚ | 1.5 | 2.5 | 16.0 | 50 | 4 |
| WR544 010 01 01 20 | 1.0 | 0.10 | 1˚ | 1.5 | 2.5 | 20.0 | 50 | 4 |
| WR544 010 01 01 25 | 1.0 | 0.10 | 1˚ | 1.5 | 2.5 | 25.0 | 60 | 4 |
| WR544 010 01 01 30 | 1.0 | 0.10 | 1˚ | 1.5 | 2.5 | 30.0 | 70 | 4 |
| WR544 010 01 01 40 | 1.0 | 0.10 | 1˚ | 1.5 | 2.5 | 40.0 | 80 | 4 |
| WR544 010 01 01 50 | 1.0 | 0.10 | 1˚ | 1.5 | 2.5 | 50.0 | 90 | 4 |
| WR544 010 01 02 06 | 1.0 | 0.10 | 2˚ | 1.5 | 2.5 | 6.0 | 50 | 4 |
| WR544 010 01 02 08 | 1.0 | 0.10 | 2˚ | 1.5 | 2.5 | 8.0 | 50 | 4 |
| WR544 010 01 02 10 | 1.0 | 0.10 | 2˚ | 1.5 | 2.5 | 10.0 | 50 | 4 |
| WR544 010 01 02 12 | 1.0 | 0.10 | 2˚ | 1.5 | 2.5 | 12.0 | 50 | 4 |
| WR544 010 01 02 16 | 1.0 | 0.10 | 2˚ | 1.5 | 2.5 | 16.0 | 50 | 4 |
| WR544 010 01 02 20 | 1.0 | 0.10 | 2˚ | 1.5 | 2.5 | 20.0 | 50 | 4 |
| WR544 010 01 02 25 | 1.0 | 0.10 | 2˚ | 1.5 | 2.5 | 25.0 | 60 | 4 |
| WR544 010 01 02 30 | 1.0 | 0.10 | 2˚ | 1.5 | 2.5 | 30.0 | 70 | 4 |
| WR544 010 01 02 40 | 1.0 | 0.10 | 2˚ | 1.5 | 2.5 | 40.0 | 80 | 4 |
| WR544 010 01 02 50 | 1.0 | 0.10 | 2˚ | 1.5 | 2.5 | 50.0 | 90 | 6 |
| WR544 010 02 01 06 | 1.0 | 0.20 | 1˚ | 1.5 | 2.5 | 6.0 | 50 | 4 |
| WR544 010 02 01 08 | 1.0 | 0.20 | 1˚ | 1.5 | 2.5 | 8.0 | 50 | 4 |
| WR544 010 02 01 10 | 1.0 | 0.20 | 1˚ | 1.5 | 2.5 | 10.0 | 50 | 4 |
| WR544 010 02 01 12 | 1.0 | 0.20 | 1˚ | 1.5 | 2.5 | 12.0 | 50 | 4 |
| WR544 010 02 01 16 | 1.0 | 0.20 | 1˚ | 1.5 | 2.5 | 16.0 | 50 | 4 |
| WR544 010 02 01 20 | 1.0 | 0.20 | 1˚ | 1.5 | 2.5 | 20.0 | 50 | 4 |
| WR544 010 02 01 25 | 1.0 | 0.20 | 1˚ | 1.5 | 2.5 | 25.0 | 60 | 4 |
| WR544 010 02 01 30 | 1.0 | 0.20 | 1˚ | 1.5 | 2.5 | 30.0 | 70 | 4 |
| WR544 010 02 01 40 | 1.0 | 0.20 | 1˚ | 1.5 | 2.5 | 40.0 | 80 | 4 |
| WR544 010 02 01 50 | 1.0 | 0.20 | 1˚ | 1.5 | 2.5 | 50.0 | 90 | 4 |
| WR544 010 02 02 06 | 1.0 | 0.20 | 2˚ | 1.5 | 2.5 | 6.0 | 50 | 4 |
| WR544 010 02 02 08 | 1.0 | 0.20 | 2˚ | 1.5 | 2.5 | 8.0 | 50 | 4 |
| WR544 010 02 02 10 | 1.0 | 0.20 | 2˚ | 1.5 | 2.5 | 10.0 | 50 | 4 |
| WR544 010 02 02 12 | 1.0 | 0.20 | 2˚ | 1.5 | 2.5 | 12.0 | 50 | 4 |
| WR544 010 02 02 16 | 1.0 | 0.20 | 2˚ | 1.5 | 2.5 | 16.0 | 50 | 4 |
| WR544 010 02 02 20 | 1.0 | 0.20 | 2˚ | 1.5 | 2.5 | 20.0 | 50 | 4 |
| WR544 010 02 02 25 | 1.0 | 0.20 | 2˚ | 1.5 | 2.5 | 25.0 | 60 | 4 |
| WR544 010 02 02 30 | 1.0 | 0.20 | 2˚ | 1.5 | 2.5 | 30.0 | 70 | 4 |
| WR544 010 02 02 40 | 1.0 | 0.20 | 2˚ | 1.5 | 2.5 | 40.0 | 80 | 4 |
| WR544 010 02 02 50 | 1.0 | 0.20 | 2˚ | 1.5 | 2.5 | 50.0 | 90 | 6 |
| WR544 012 01 01 08 | 1.2 | 0.10 | 1˚ | 1.8 | 3.0 | 8.0 | 50 | 4 |
| WR544 012 01 01 12 | 1.2 | 0.10 | 1˚ | 1.8 | 3.0 | 12.0 | 50 | 4 |
| WR544 012 01 01 16 | 1.2 | 0.10 | 1˚ | 1.8 | 3.0 | 16.0 | 50 | 4 |
| WR544 012 01 01 20 | 1.2 | 0.10 | 1˚ | 1.8 | 3.0 | 20.0 | 50 | 4 |
| WR544 012 01 01 25 | 1.2 | 0.10 | 1˚ | 1.8 | 3.0 | 25.0 | 60 | 4 |
| WR544 012 01 01 30 | 1.2 | 0.10 | 1˚ | 1.8 | 3.0 | 30.0 | 70 | 4 |
| WR544 012 01 02 08 | 1.2 | 0.10 | 2˚ | 1.8 | 3.0 | 8.0 | 50 | 4 |
| WR544 012 01 02 12 | 1.2 | 0.10 | 2˚ | 1.8 | 3.0 | 12.0 | 50 | 4 |
| WR544 012 01 02 16 | 1.2 | 0.10 | 2˚ | 1.8 | 3.0 | 16.0 | 50 | 4 |
| WR544 012 01 02 20 | 1.2 | 0.10 | 2˚ | 1.8 | 3.0 | 20.0 | 50 | 4 |
| WR544 012 01 02 25 | 1.2 | 0.10 | 2˚ | 1.8 | 3.0 | 25.0 | 60 | 4 |
| WR544 012 01 02 30 | 1.2 | 0.10 | 2˚ | 1.8 | 3.0 | 30.0 | 70 | 4 |
| WR544 012 02 01 08 | 1.2 | 0.20 | 1˚ | 1.8 | 3.0 | 8.0 | 50 | 4 |
| WR544 012 02 01 12 | 1.2 | 0.20 | 1˚ | 1.8 | 3.0 | 12.0 | 50 | 4 |
| WR544 012 02 01 16 | 1.2 | 0.20 | 1˚ | 1.8 | 3.0 | 16.0 | 50 | 4 |
| WR544 012 02 01 20 | 1.2 | 0.20 | 1˚ | 1.8 | 3.0 | 20.0 | 50 | 4 |
| WR544 012 02 01 25 | 1.2 | 0.20 | 1˚ | 1.8 | 3.0 | 25.0 | 60 | 4 |
| WR544 012 02 01 30 | 1.2 | 0.20 | 1˚ | 1.8 | 3.0 | 30.0 | 70 | 4 |
| WR544 012 02 02 08 | 1.2 | 0.20 | 2˚ | 1.8 | 3.0 | 8.0 | 50 | 4 |
| WR544 012 02 02 12 | 1.2 | 0.20 | 2˚ | 1.8 | 3.0 | 12.0 | 50 | 4 |
| WR544 012 02 02 16 | 1.2 | 0.20 | 2˚ | 1.8 | 3.0 | 16.0 | 50 | 4 |
| WR544 012 02 02 20 | 1.2 | 0.20 | 2˚ | 1.8 | 3.0 | 20.0 | 50 | 4 |
| WR544 012 02 02 25 | 1.2 | 0.20 | 2˚ | 1.8 | 3.0 | 25.0 | 60 | 4 |
| WR544 012 02 02 30 | 1.2 | 0.20 | 2˚ | 1.8 | 3.0 | 30.0 | 70 | 4 |
| WR544 015 01 01 08 | 1.5 | 0.10 | 1˚ | 2.3 | 3.0 | 8.0 | 50 | 4 |
| WR544 015 01 01 10 | 1.5 | 0.10 | 1˚ | 2.3 | 3.0 | 10.0 | 50 | 4 |
| WR544 015 01 01 12 | 1.5 | 0.10 | 1˚ | 2.3 | 3.0 | 12.0 | 50 | 4 |
| WR544 015 01 01 16 | 1.5 | 0.10 | 1˚ | 2.3 | 3.0 | 16.0 | 50 | 4 |
| WR544 015 01 01 20 | 1.5 | 0.10 | 1˚ | 2.3 | 3.0 | 20.0 | 50 | 4 |
| WR544 015 01 01 25 | 1.5 | 0.10 | 1˚ | 2.3 | 3.0 | 25.0 | 60 | 4 |
| WR544 015 01 01 30 | 1.5 | 0.10 | 1˚ | 2.3 | 3.0 | 30.0 | 70 | 4 |
| WR544 015 01 01 40 | 1.5 | 0.10 | 1˚ | 2.3 | 3.0 | 40.0 | 80 | 4 |
| WR544 015 01 01 50 | 1.5 | 0.10 | 1˚ | 2.3 | 3.0 | 50.0 | 90 | 4 |
| WR544 015 01 02 08 | 1.5 | 0.10 | 2˚ | 2.3 | 3.0 | 8.0 | 50 | 4 |
| WR544 015 01 02 10 | 1.5 | 0.10 | 2˚ | 2.3 | 3.0 | 10.0 | 50 | 4 |
| WR544 015 01 02 12 | 1.5 | 0.10 | 2˚ | 2.3 | 3.0 | 12.0 | 50 | 4 |
| WR544 015 01 02 16 | 1.5 | 0.10 | 2˚ | 2.3 | 3.0 | 16.0 | 50 | 4 |
| WR544 015 01 02 20 | 1.5 | 0.10 | 2˚ | 2.3 | 3.0 | 20.0 | 50 | 4 |
| WR544 015 01 02 25 | 1.5 | 0.10 | 2˚ | 2.3 | 3.0 | 25.0 | 60 | 4 |
| WR544 015 01 02 30 | 1.5 | 0.10 | 2˚ | 2.3 | 3.0 | 30.0 | 70 | 4 |
| WR544 015 01 02 40 | 1.5 | 0.10 | 2˚ | 2.3 | 3.0 | 40.0 | 80 | 6 |
| WR544 015 01 02 50 | 1.5 | 0.10 | 2˚ | 2.3 | 3.0 | 50.0 | 90 | 6 |
| WR544 015 02 01 08 | 1.5 | 0.20 | 1˚ | 2.3 | 3.0 | 8.0 | 50 | 4 |
| WR544 015 02 01 10 | 1.5 | 0.20 | 1˚ | 2.3 | 3.0 | 10.0 | 50 | 4 |
| WR544 015 02 01 12 | 1.5 | 0.20 | 1˚ | 2.3 | 3.0 | 12.0 | 50 | 4 |
| WR544 015 02 01 16 | 1.5 | 0.20 | 1˚ | 2.3 | 3.0 | 16.0 | 50 | 4 |
| WR544 015 02 01 20 | 1.5 | 0.20 | 1˚ | 2.3 | 3.0 | 20.0 | 50 | 4 |
| WR544 015 02 01 25 | 1.5 | 0.20 | 1˚ | 2.3 | 3.0 | 25.0 | 60 | 4 |
| WR544 015 02 01 30 | 1.5 | 0.20 | 1˚ | 2.3 | 3.0 | 30.0 | 70 | 4 |
| WR544 015 02 01 40 | 1.5 | 0.20 | 1˚ | 2.3 | 3.0 | 40.0 | 80 | 4 |
| WR544 015 02 01 50 | 1.5 | 0.20 | 1˚ | 2.3 | 3.0 | 50.0 | 90 | 4 |
| WR544 015 02 02 08 | 1.5 | 0.20 | 2˚ | 2.3 | 3.0 | 8.0 | 50 | 4 |
| WR544 015 02 02 10 | 1.5 | 0.20 | 2˚ | 2.3 | 3.0 | 10.0 | 50 | 4 |
| WR544 015 02 02 12 | 1.5 | 0.20 | 2˚ | 2.3 | 3.0 | 12.0 | 50 | 4 |
| WR544 015 02 02 16 | 1.5 | 0.20 | 2˚ | 2.3 | 3.0 | 16.0 | 50 | 4 |
| WR544 015 02 02 20 | 1.5 | 0.20 | 2˚ | 2.3 | 3.0 | 20.0 | 50 | 4 |
| WR544 015 02 02 25 | 1.5 | 0.20 | 2˚ | 2.3 | 3.0 | 25.0 | 60 | 4 |
| WR544 015 02 02 30 | 1.5 | 0.20 | 2˚ | 2.3 | 3.0 | 30.0 | 70 | 4 |
| WR544 015 02 02 40 | 1.5 | 0.20 | 2˚ | 2.3 | 3.0 | 40.0 | 80 | 6 |
| WR544 015 02 02 50 | 1.5 | 0.20 | 2˚ | 2.3 | 3.0 | 50.0 | 90 | 6 |
| WR544 015 03 01 08 | 1.5 | 0.30 | 1˚ | 2.3 | 3.0 | 8.0 | 50 | 4 |
| WR544 015 03 01 10 | 1.5 | 0.30 | 1˚ | 2.3 | 3.0 | 10.0 | 50 | 4 |
| WR544 015 03 01 12 | 1.5 | 0.30 | 1˚ | 2.3 | 3.0 | 12.0 | 50 | 4 |
| WR544 015 03 01 16 | 1.5 | 0.30 | 1˚ | 2.3 | 3.0 | 16.0 | 50 | 4 |
| WR544 015 03 01 20 | 1.5 | 0.30 | 1˚ | 2.3 | 3.0 | 20.0 | 50 | 4 |
| WR544 015 03 01 25 | 1.5 | 0.30 | 1˚ | 2.3 | 3.0 | 25.0 | 60 | 4 |
| WR544 015 03 01 30 | 1.5 | 0.30 | 1˚ | 2.3 | 3.0 | 30.0 | 70 | 4 |
| WR544 015 03 01 40 | 1.5 | 0.30 | 1˚ | 2.3 | 3.0 | 40.0 | 80 | 4 |
| WR544 015 03 01 50 | 1.5 | 0.30 | 1˚ | 2.3 | 3.0 | 50.0 | 90 | 4 |
| WR544 015 03 02 08 | 1.5 | 0.30 | 2˚ | 2.3 | 3.0 | 8.0 | 50 | 4 |
| WR544 015 03 02 10 | 1.5 | 0.30 | 2˚ | 2.3 | 3.0 | 10.0 | 50 | 4 |
| WR544 015 03 02 12 | 1.5 | 0.30 | 2˚ | 2.3 | 3.0 | 12.0 | 50 | 4 |
| WR544 015 03 02 16 | 1.5 | 0.30 | 2˚ | 2.3 | 3.0 | 16.0 | 50 | 4 |
| WR544 015 03 02 20 | 1.5 | 0.30 | 2˚ | 2.3 | 3.0 | 20.0 | 50 | 4 |
| WR544 015 03 02 25 | 1.5 | 0.30 | 2˚ | 2.3 | 3.0 | 25.0 | 60 | 4 |
| WR544 015 03 02 30 | 1.5 | 0.30 | 2˚ | 2.3 | 3.0 | 30.0 | 70 | 4 |
| WR544 015 03 02 40 | 1.5 | 0.30 | 2˚ | 2.3 | 3.0 | 40.0 | 80 | 6 |
| WR544 015 03 02 50 | 1.5 | 0.30 | 2˚ | 2.3 | 3.0 | 50.0 | 90 | 6 |
| WR544 020 01 01 10 | 2.0 | 0.10 | 1˚ | 2.0 | 5.0 | 10.0 | 50 | 4 |
| WR544 020 01 01 12 | 2.0 | 0.10 | 1˚ | 2.0 | 5.0 | 12.0 | 50 | 4 |
| WR544 020 01 01 16 | 2.0 | 0.10 | 1˚ | 2.0 | 5.0 | 16.0 | 50 | 4 |
| WR544 020 01 01 20 | 2.0 | 0.10 | 1˚ | 2.0 | 5.0 | 20.0 | 50 | 4 |
| WR544 020 01 01 25 | 2.0 | 0.10 | 1˚ | 2.0 | 5.0 | 25.0 | 60 | 4 |
| WR544 020 01 01 30 | 2.0 | 0.10 | 1˚ | 2.0 | 5.0 | 30.0 | 70 | 4 |
| WR544 020 01 01 40 | 2.0 | 0.10 | 1˚ | 2.0 | 5.0 | 40.0 | 80 | 6 |
| WR544 020 01 01 50 | 2.0 | 0.10 | 1˚ | 2.0 | 5.0 | 50.0 | 100 | 6 |
| WR544 020 01 01 60 | 2.0 | 0.10 | 1˚ | 2.0 | 5.0 | 60.0 | 100 | 6 |
| WR544 020 01 01 80 | 2.0 | 0.10 | 1˚ | 2.0 | 5.0 | 80.0 | 140 | 6 |
| WR544 020 01 02 10 | 2.0 | 0.10 | 2˚ | 2.0 | 5.0 | 10.0 | 50 | 4 |
| WR544 020 01 02 12 | 2.0 | 0.10 | 2˚ | 2.0 | 5.0 | 12.0 | 50 | 4 |
| WR544 020 01 02 16 | 2.0 | 0.10 | 2˚ | 2.0 | 5.0 | 16.0 | 50 | 4 |
| WR544 020 01 02 20 | 2.0 | 0.10 | 2˚ | 2.0 | 5.0 | 20.0 | 50 | 4 |
| WR544 020 01 02 25 | 2.0 | 0.10 | 2˚ | 2.0 | 5.0 | 25.0 | 60 | 4 |
| WR544 020 01 02 30 | 2.0 | 0.10 | 2˚ | 2.0 | 5.0 | 30.0 | 70 | 4 |
| WR544 020 01 02 40 | 2.0 | 0.10 | 2˚ | 2.0 | 5.0 | 40.0 | 80 | 6 |
| WR544 020 01 02 50 | 2.0 | 0.10 | 2˚ | 2.0 | 5.0 | 50.0 | 100 | 6 |
| WR544 020 01 02 60 | 2.0 | 0.10 | 2˚ | 2.0 | 5.0 | 60.0 | 100 | 6 |
| WR544 020 01 02 80 | 2.0 | 0.10 | 2˚ | 2.0 | 5.0 | 80.0 | 140 | 8 |
| WR544 020 02 01 10 | 2.0 | 0.20 | 1˚ | 2.0 | 5.0 | 10.0 | 50 | 4 |
| WR544 020 02 01 12 | 2.0 | 0.20 | 1˚ | 2.0 | 5.0 | 12.0 | 50 | 4 |
| WR544 020 02 01 16 | 2.0 | 0.20 | 1˚ | 2.0 | 5.0 | 16.0 | 50 | 4 |
| WR544 020 02 01 20 | 2.0 | 0.20 | 1˚ | 2.0 | 5.0 | 20.0 | 50 | 4 |
| WR544 020 02 01 25 | 2.0 | 0.20 | 1˚ | 2.0 | 5.0 | 25.0 | 60 | 4 |
| WR544 020 02 01 30 | 2.0 | 0.20 | 1˚ | 2.0 | 5.0 | 30.0 | 70 | 4 |
| WR544 020 02 01 40 | 2.0 | 0.20 | 1˚ | 2.0 | 5.0 | 40.0 | 80 | 6 |
| WR544 020 02 01 50 | 2.0 | 0.20 | 1˚ | 2.0 | 5.0 | 50.0 | 100 | 6 |
| WR544 020 02 01 60 | 2.0 | 0.20 | 1˚ | 2.0 | 5.0 | 60.0 | 100 | 6 |
| WR544 020 02 01 80 | 2.0 | 0.20 | 1˚ | 2.0 | 5.0 | 80.0 | 140 | 6 |
| WR544 020 02 02 10 | 2.0 | 0.20 | 2˚ | 2.0 | 5.0 | 10.0 | 50 | 4 |
| WR544 020 02 02 12 | 2.0 | 0.20 | 2˚ | 2.0 | 5.0 | 12.0 | 50 | 4 |
| WR544 020 02 02 16 | 2.0 | 0.20 | 2˚ | 2.0 | 5.0 | 16.0 | 50 | 4 |
| WR544 020 02 02 20 | 2.0 | 0.20 | 2˚ | 2.0 | 5.0 | 20.0 | 50 | 4 |
| WR544 020 02 02 25 | 2.0 | 0.20 | 2˚ | 2.0 | 5.0 | 25.0 | 60 | 4 |
| WR544 020 02 02 30 | 2.0 | 0.20 | 2˚ | 2.0 | 5.0 | 30.0 | 70 | 4 |
| WR544 020 02 02 40 | 2.0 | 0.20 | 2˚ | 2.0 | 5.0 | 40.0 | 80 | 6 |
| WR544 020 02 02 50 | 2.0 | 0.20 | 2˚ | 2.0 | 5.0 | 50.0 | 100 | 6 |
| WR544 020 02 02 60 | 2.0 | 0.20 | 2˚ | 2.0 | 5.0 | 60.0 | 100 | 6 |
| WR544 020 02 02 80 | 2.0 | 0.20 | 2˚ | 2.0 | 5.0 | 80.0 | 140 | 8 |
| WR544 020 03 01 10 | 2.0 | 0.30 | 1˚ | 2.0 | 5.0 | 10.0 | 50 | 4 |
| WR544 020 03 01 12 | 2.0 | 0.30 | 1˚ | 2.0 | 5.0 | 12.0 | 50 | 4 |
| WR544 020 03 01 16 | 2.0 | 0.30 | 1˚ | 2.0 | 5.0 | 16.0 | 50 | 4 |
| WR544 020 03 01 20 | 2.0 | 0.30 | 1˚ | 2.0 | 5.0 | 20.0 | 50 | 4 |
| WR544 020 03 01 25 | 2.0 | 0.30 | 1˚ | 2.0 | 5.0 | 25.0 | 60 | 4 |
| WR544 020 03 01 30 | 2.0 | 0.30 | 1˚ | 2.0 | 5.0 | 30.0 | 70 | 4 |
| WR544 020 03 01 40 | 2.0 | 0.30 | 1˚ | 2.0 | 5.0 | 40.0 | 80 | 6 |
| WR544 020 03 01 50 | 2.0 | 0.30 | 1˚ | 2.0 | 5.0 | 50.0 | 100 | 6 |
| WR544 020 03 01 60 | 2.0 | 0.30 | 1˚ | 2.0 | 5.0 | 60.0 | 100 | 6 |
| WR544 020 03 01 80 | 2.0 | 0.30 | 1˚ | 2.0 | 5.0 | 80.0 | 140 | 6 |
| WR544 020 03 02 10 | 2.0 | 0.30 | 2˚ | 2.0 | 5.0 | 10.0 | 50 | 4 |
| WR544 020 03 02 12 | 2.0 | 0.30 | 2˚ | 2.0 | 5.0 | 12.0 | 50 | 4 |
| WR544 020 03 02 16 | 2.0 | 0.30 | 2˚ | 2.0 | 5.0 | 16.0 | 50 | 4 |
| WR544 020 03 02 20 | 2.0 | 0.30 | 2˚ | 2.0 | 5.0 | 20.0 | 50 | 4 |
| WR544 020 03 02 25 | 2.0 | 0.30 | 2˚ | 2.0 | 5.0 | 25.0 | 60 | 4 |
| WR544 020 03 02 30 | 2.0 | 0.30 | 2˚ | 2.0 | 5.0 | 30.0 | 70 | 4 |
| WR544 020 03 02 40 | 2.0 | 0.30 | 2˚ | 2.0 | 5.0 | 40.0 | 80 | 6 |
| WR544 020 03 02 50 | 2.0 | 0.30 | 2˚ | 2.0 | 5.0 | 50.0 | 100 | 6 |
| WR544 020 03 02 60 | 2.0 | 0.30 | 2˚ | 2.0 | 5.0 | 60.0 | 100 | 6 |
| WR544 020 03 02 80 | 2.0 | 0.30 | 2˚ | 2.0 | 5.0 | 80.0 | 140 | 8 |
| WR544 020 05 01 10 | 2.0 | 0.50 | 1˚ | 2.0 | 5.0 | 10.0 | 50 | 4 |
| WR544 020 05 01 12 | 2.0 | 0.50 | 1˚ | 2.0 | 5.0 | 12.0 | 50 | 4 |
| WR544 020 05 01 16 | 2.0 | 0.50 | 1˚ | 2.0 | 5.0 | 16.0 | 50 | 4 |
| WR544 020 05 01 20 | 2.0 | 0.50 | 1˚ | 2.0 | 5.0 | 20.0 | 50 | 4 |
| WR544 020 05 01 25 | 2.0 | 0.50 | 1˚ | 2.0 | 5.0 | 25.0 | 60 | 4 |
| WR544 020 05 01 30 | 2.0 | 0.50 | 1˚ | 2.0 | 5.0 | 30.0 | 70 | 4 |
| WR544 020 05 01 40 | 2.0 | 0.50 | 1˚ | 2.0 | 5.0 | 40.0 | 80 | 6 |
| WR544 020 05 01 50 | 2.0 | 0.50 | 1˚ | 2.0 | 5.0 | 50.0 | 100 | 6 |
| WR544 020 05 01 60 | 2.0 | 0.50 | 1˚ | 2.0 | 5.0 | 60.0 | 100 | 6 |
| WR544 020 05 01 80 | 2.0 | 0.50 | 1˚ | 2.0 | 5.0 | 80.0 | 140 | 6 |
| WR544 020 05 02 10 | 2.0 | 0.50 | 2˚ | 2.0 | 5.0 | 10.0 | 50 | 4 |
| WR544 020 05 02 12 | 2.0 | 0.50 | 2˚ | 2.0 | 5.0 | 12.0 | 50 | 4 |
| WR544 020 05 02 16 | 2.0 | 0.50 | 2˚ | 2.0 | 5.0 | 16.0 | 50 | 4 |
| WR544 020 05 02 20 | 2.0 | 0.50 | 2˚ | 2.0 | 5.0 | 20.0 | 50 | 4 |
| WR544 020 05 02 25 | 2.0 | 0.50 | 2˚ | 2.0 | 5.0 | 25.0 | 60 | 4 |
| WR544 020 05 02 30 | 2.0 | 0.50 | 2˚ | 2.0 | 5.0 | 30.0 | 70 | 4 |
| WR544 020 05 02 40 | 2.0 | 0.50 | 2˚ | 2.0 | 5.0 | 40.0 | 80 | 6 |
| WR544 020 05 02 50 | 2.0 | 0.50 | 2˚ | 2.0 | 5.0 | 50.0 | 100 | 6 |
| WR544 020 05 02 60 | 2.0 | 0.50 | 2˚ | 2.0 | 5.0 | 60.0 | 100 | 6 |
| WR544 020 05 02 80 | 2.0 | 0.50 | 2˚ | 2.0 | 5.0 | 80.0 | 140 | 8 |
| WR544 030 02 01 16 | 3.0 | 0.20 | 1˚ | 4.5 | 6.0 | 16.0 | 60 | 6 |
| WR544 030 02 01 20 | 3.0 | 0.20 | 1˚ | 4.5 | 6.0 | 20.0 | 65 | 6 |
| WR544 030 02 01 30 | 3.0 | 0.20 | 1˚ | 4.5 | 6.0 | 30.0 | 70 | 6 |
| WR544 030 02 01 40 | 3.0 | 0.20 | 1˚ | 4.5 | 6.0 | 40.0 | 80 | 6 |
| WR544 030 02 01 50 | 3.0 | 0.20 | 1˚ | 4.5 | 6.0 | 50.0 | 90 | 6 |
| WR544 030 02 01 60 | 3.0 | 0.20 | 1˚ | 4.5 | 6.0 | 60.0 | 100 | 6 |
| WR544 030 02 02 16 | 3.0 | 0.20 | 2˚ | 4.5 | 6.0 | 16.0 | 60 | 6 |
| WR544 030 02 02 20 | 3.0 | 0.20 | 2˚ | 4.5 | 6.0 | 20.0 | 65 | 6 |
| WR544 030 02 02 30 | 3.0 | 0.20 | 2˚ | 4.5 | 6.0 | 30.0 | 70 | 6 |
| WR544 030 02 02 40 | 3.0 | 0.20 | 2˚ | 4.5 | 6.0 | 40.0 | 80 | 6 |
| WR544 030 02 02 50 | 3.0 | 0.20 | 2˚ | 4.5 | 6.0 | 50.0 | 90 | 8 |
| WR544 030 02 02 60 | 3.0 | 0.20 | 2˚ | 4.5 | 6.0 | 60.0 | 100 | 8 |
| WR544 030 02 02 70 | 3.0 | 0.20 | 2˚ | 4.5 | 6.0 | 70.0 | 120 | 8 |
| WR544 030 03 01 16 | 3.0 | 0.30 | 1˚ | 4.5 | 6.0 | 16.0 | 60 | 6 |
| WR544 030 03 01 20 | 3.0 | 0.30 | 1˚ | 4.5 | 6.0 | 20.0 | 65 | 6 |
| WR544 030 03 01 30 | 3.0 | 0.30 | 1˚ | 4.5 | 6.0 | 30.0 | 70 | 6 |
| WR544 030 03 01 40 | 3.0 | 0.30 | 1˚ | 4.5 | 6.0 | 40.0 | 80 | 6 |
| WR544 030 03 01 50 | 3.0 | 0.30 | 1˚ | 4.5 | 6.0 | 50.0 | 90 | 6 |
| WR544 030 03 01 60 | 3.0 | 0.30 | 1˚ | 4.5 | 6.0 | 60.0 | 100 | 6 |
| WR544 030 03 02 16 | 3.0 | 0.30 | 2˚ | 4.5 | 6.0 | 16.0 | 60 | 6 |
| WR544 030 03 02 20 | 3.0 | 0.30 | 2˚ | 4.5 | 6.0 | 20.0 | 65 | 6 |
| WR544 030 03 02 30 | 3.0 | 0.30 | 2˚ | 4.5 | 6.0 | 30.0 | 70 | 6 |
| WR544 030 03 02 40 | 3.0 | 0.30 | 2˚ | 4.5 | 6.0 | 40.0 | 80 | 6 |
| WR544 030 03 02 50 | 3.0 | 0.30 | 2˚ | 4.5 | 6.0 | 50.0 | 90 | 8 |
| WR544 030 03 02 60 | 3.0 | 0.30 | 2˚ | 4.5 | 6.0 | 60.0 | 100 | 8 |
| WR544 030 03 02 70 | 3.0 | 0.30 | 2˚ | 4.5 | 6.0 | 70.0 | 120 | 8 |
| WR544 030 05 01 16 | 3.0 | 0.50 | 1˚ | 4.5 | 6.0 | 16.0 | 60 | 6 |
| WR544 030 05 01 20 | 3.0 | 0.50 | 1˚ | 4.5 | 6.0 | 20.0 | 65 | 6 |
| WR544 030 05 01 30 | 3.0 | 0.50 | 1˚ | 4.5 | 6.0 | 30.0 | 70 | 6 |
| WR544 030 05 01 40 | 3.0 | 0.50 | 1˚ | 4.5 | 6.0 | 40.0 | 80 | 6 |
| WR544 030 05 01 50 | 3.0 | 0.50 | 1˚ | 4.5 | 6.0 | 50.0 | 90 | 6 |
| WR544 030 05 01 60 | 3.0 | 0.50 | 1˚ | 4.5 | 6.0 | 60.0 | 100 | 6 |
| WR544 030 05 02 16 | 3.0 | 0.50 | 2˚ | 4.5 | 6.0 | 16.0 | 60 | 6 |
| WR544 030 05 02 20 | 3.0 | 0.50 | 2˚ | 4.5 | 6.0 | 20.0 | 65 | 6 |
| WR544 030 05 02 30 | 3.0 | 0.50 | 2˚ | 4.5 | 6.0 | 30.0 | 70 | 6 |
| WR544 030 05 02 40 | 3.0 | 0.50 | 2˚ | 4.5 | 6.0 | 40.0 | 80 | 6 |
| WR544 030 05 02 50 | 3.0 | 0.50 | 2˚ | 4.5 | 6.0 | 50.0 | 90 | 8 |
| WR544 030 05 02 60 | 3.0 | 0.50 | 2˚ | 4.5 | 6.0 | 60.0 | 100 | 8 |
| WR544 030 05 02 70 | 3.0 | 0.50 | 2˚ | 4.5 | 6.0 | 70.0 | 120 | 8 |
| WR544 040 02 01 40 | 4.0 | 0.20 | 1˚ | 6.0 | 8.0 | 40.0 | 90 | 6 |
| WR544 040 02 01 50 | 4.0 | 0.20 | 1˚ | 6.0 | 8.0 | 50.0 | 100 | 6 |
| WR544 040 02 01 60 | 4.0 | 0.20 | 1˚ | 6.0 | 8.0 | 60.0 | 110 | 6 |
| WR544 040 02 01 70 | 4.0 | 0.20 | 2˚ | 6.0 | 8.0 | 70.0 | 120 | 8 |
| WR544 040 02 02 40 | 4.0 | 0.20 | 2˚ | 6.0 | 8.0 | 40.0 | 90 | 8 |
| WR544 040 02 02 50 | 4.0 | 0.20 | 2˚ | 6.0 | 8.0 | 50.0 | 100 | 8 |
| WR544 040 02 02 60 | 4.0 | 0.20 | 2˚ | 6.0 | 8.0 | 60.0 | 110 | 8 |
| WR544 040 02 02 70 | 4.0 | 0.20 | 2˚ | 6.0 | 8.0 | 70.0 | 120 | 10 |
| WR544 040 03 01 40 | 4.0 | 0.30 | 1˚ | 6.0 | 8.0 | 40.0 | 90 | 6 |
| WR544 040 03 01 50 | 4.0 | 0.30 | 1˚ | 6.0 | 8.0 | 50.0 | 100 | 6 |
| WR544 040 03 01 60 | 4.0 | 0.30 | 1˚ | 6.0 | 8.0 | 60.0 | 110 | 6 |
| WR544 040 03 01 70 | 4.0 | 0.30 | 1˚ | 6.0 | 8.0 | 70.0 | 120 | 8 |
| WR544 040 03 02 40 | 4.0 | 0.30 | 2˚ | 6.0 | 8.0 | 40.0 | 90 | 8 |
| WR544 040 03 02 50 | 4.0 | 0.30 | 2˚ | 6.0 | 8.0 | 50.0 | 100 | 8 |
| WR544 040 03 02 60 | 4.0 | 0.30 | 2˚ | 6.0 | 8.0 | 60.0 | 110 | 8 |
| WR544 040 03 02 70 | 4.0 | 0.30 | 2˚ | 6.0 | 8.0 | 70.0 | 120 | 10 |
| WR544 040 05 01 40 | 4.0 | 0.50 | 1˚ | 6.0 | 8.0 | 40.0 | 90 | 6 |
| WR544 040 05 01 50 | 4.0 | 0.50 | 1˚ | 6.0 | 8.0 | 50.0 | 100 | 6 |
| WR544 040 05 01 60 | 4.0 | 0.50 | 1˚ | 6.0 | 8.0 | 60.0 | 110 | 6 |
| WR544 040 05 01 70 | 4.0 | 0.50 | 1˚ | 6.0 | 8.0 | 70.0 | 120 | 8 |
| WR544 040 05 02 40 | 4.0 | 0.50 | 2˚ | 6.0 | 8.0 | 40.0 | 90 | 8 |
| WR544 040 05 02 50 | 4.0 | 0.50 | 2˚ | 6.0 | 8.0 | 50.0 | 100 | 8 |
| WR544 040 05 02 60 | 4.0 | 0.50 | 2˚ | 6.0 | 8.0 | 60.0 | 110 | 8 |
| WR544 040 05 02 70 | 4.0 | 0.50 | 2˚ | 6.0 | 8.0 | 70.0 | 120 | 10 |
| 탄소강 (S45C, S55C...) ~ HB225 |
합금강 (SCM, SK...) HB225~325 |
프리하든강 (NAK...) HRc30~50 |
열처리강 | 동 | 흑연 | 주철 FCD400. 500~ |
알루미늄 | 스테인리스강 | |
|---|---|---|---|---|---|---|---|---|---|
| ~HRc55 SKD61 | ~HRc55 SKD11 | ||||||||
| ○ | ○ | ◎ | ○ | ○ | ○ | ||||
| 인선부 (mm) | 자루부 |
|---|---|
| 0 ~ -0.012 | h6 |